Tento článek podává stručný návod na rychlé zprovoznění kamery Basler. Řady kamer, kterých se týká tento návod: Ace, Scout, Aviator, Pilot, Runner
1. Připojení napájení
Připojení napájení přes kulatý konektor Hirose 12-pin / Hirose 6-pin
(Ace, Scout, Aviator, Pilot, Runner)
Připojte ke kameře dodaný napájecí zdroj, nebo připojte napájecí napětí na piny konektoru Hirose na kameře.
| Název řady | Napájecí konektor | Čísla pinů pro připojení napájení | Napájecí napětí |
| Scout | Hirose 12-pin | VCC - 8,9 GND - 1,2 |
12 - 24 VDC |
| Scout Light | Hirose 12-pin | VCC - 8,9 GND - 1,2 |
12 - 24 VDC |
| Pilot | Hirose 12-pin | VCC - 8,9 GND - 1,2 |
12 - 24 VDC |
| Aviator | Hirose 12-pin | VCC - 8,9 GND - 1,2 |
12 VDC |
| Ace | Hirose 6-pin nebo PoE | VCC - 1 GND - 6 |
12 VDC |
| Runner | Hirose 6-pin | VCC - 1 GND - 6 |
12 VDC |
Rozložení pinů na konektoru (pohled zezadu kamery):


Obr.1 Připojení napájení na piny konektoru Hirose 12p a Hirose 6p
Připojení napájení přes ethernet (Power-over-ethernet)
(Ace)
Kamery Basler Ace umožňují napájení přes ethernet. Můžete použít kartu nebo switch, který tuto technologii podporuje, nebo Single Port Injector mezi počítačem a kamerou:

Obr.2 PoE zdroj pro kamery Basler Ace
2. Montáž objektivu
Kamery se závitem C-mount
Maticové kamery jsou vybaveny většinou standardním závitem C-mount. Vzdálenost mezi fotocitlivou plochou senzoru a okrajem závitu je 17,526 mm. Maximální hloubka, do které lze zašroubovat objektiv v barevné kameře je 8 mm!


Obr.3 Závit C-mount
Kamery se závitem CS-mount
Kamery se závitem CS-mount mají kratší vzdálenost mezi okrajem a plochou senzoru. Pouze 12,526 mm, takže platí:
- Na kameru se závitem C-mount NELZE použít objektiv se závitem CS-mount.
- Na kameru se závitem CS-mount lze použít objektiv se závitem C-mount, ale musí se doplnit adaptér C/CS mezi kamerou a objektivem.
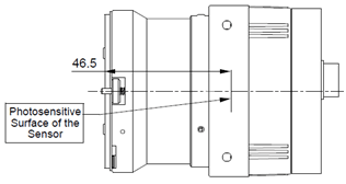
Kamery se závitem F-mount
Řádkové kamery jsou většinou vybaveny bajonetovým závitem F-mount. Vzdálenost mezi fotocitlivou plochou senzoru a okrajem závitu je 46,5 mm.


Obr.4 Závit F-mount
Pro kameru je možné použít jakýkoli objektiv určený pro fotoaparáty se závitem Nikon. Závit na průmyslové kameře neobsahuje elektrické rozhraní pro automatické ovládání objektivu.
3. Instalace software
Ze stránek výrobce (nebo z instalačního CD je-li přiloženo) si stáhněte nejnovější verzi programu pylon.
Spusťte instalaci. V okně s dotazem na instalaci součástí zrušte zaškrtnutí součástí pro IEEE1394 a Camera Link. Ponechejte pouze součásti týkající se GigE Vision.
Obr.5 Instalace programu pylon - vyberte pouze komponenty pro gigabitový ethernet
Při instalaci dojde ke krátkému odpojení všech instalovaných síťových adaptérů v počítači.
Po dokončení instalace je doporučen restart počítače, i kdyby jej instalátor nevyžadoval.
4. Zprovoznění komunikace
- Kameru připojte k síťové kartě počítače ethernetovým kabelem ve specifikaci nejméně CAT 5e. U většiny moderních síťových adaptérů už je jedno, jestli používáte přímý nebo křížený kabel.
- Kameru připojte přímo k síťové kartě bez aktivních zařízení jako switch nebo hub.
- Připojte napájení kamery výše popsaným způsobem.
Nastavení síťového adaptéru v počítači
- Vypněte firewall ve windows. Komunikace by měla fungovat i při zapnutém firewallu, ale při prvním připojení jej pro jistotu nechejte vypnutý. Po zprovoznění kamery jej můžete zkusit zapnout.
- Na síťové kartě nastavte pevnou IP adresu ve tvaru např.: 192.168.10.1, maska 255.255.255.0. Vypněte dynamické přidělování adresy DHCP.
- Pokud vaše síťová karta podporuje nastavení Jumbo Frames, nastavte jej na co nejvyšší hodnotu. (Co je Jumbo Frames a kde se nastaví?)
- Uložte nastavení síťové karty.
Nastavení komunikačních parametrů na kameře
Spusťte program pylon IP Configuration Tool (naleznete v menu Start -> Basler Vision Technologies -> pylon 2.3)
- Program po spuštění automaticky vyhledá připojenou kameru. Případně můžete kliknout na tlačítko Refresh.
- Nejprve musíte nastavit prozatímní IP adresu kamery. Klikněte na tlačítko Assign Temp. IP Address a ve zobrazeném dialogu zadejte IP adresu např.: 192.168.10.2, a masku 255.255.255.0. Kamera musí být ve stejné podsíti (subnetu) jako počítač!
- Potvrďte nastavení a vraťte se do předchozího okna.
Nyní můžete nastavit trvalou IP adresu kamery. Klikněte na tlačítko Change Configuration a v dolní části okna nastavte IP adresu např.: 192.168.10.2, a masku 255.255.255.0. Nastavte volbu Use Persistent IP.- Důležité! Klikněte na tlačítko Write Configuration. Tímto jste nastavili trvalou IP adresu, kterou bude mít kamera i po příštím zapnutí.
- Ukončete program pylon IP Configurator Tool.
Spusťte program pylon Viewer (naleznete v menu Start -> Basler Vision Technologies -> pylon 2.3)
- V levé části okna na záložce Devices se objeví seznam nainstalovaných rozhraní a připojených kamer. Klikněte na název kamery. Tím se k ní připojíte a můžete přistupovat k parametrům kamery, které se nacházejí na záložce Features.
- Na záložce Features můžete nastavovat parametry kamery. Viz. samostatný článek.
- Tlačítkem
v horní liště spusťte jednorázové nebo kontinuální snímání obrazu z kamery. - Ve spodní liště pod obrazem můžete zkontrolovat počet přijímaných snímků za sekundu (accu.), velikost datového toku a počet zobrazených snímků za sekundu (disp.).

Obr.7 Aktivace kamery v programu pylon

Obr.8 Nastavení parametrů kamery v programu pylon
5. Řešení potíží
Problém A: V kontinuálním režimu vidím trhaný obraz, snímková frekvence a datový tok kolísá.
Možné příčiny a jejich řešení:
- Počítač je příliš vytížen jinými procesy. Ukončete ostatní programy, zkontrolujte, zda počítač nevytěžuje probíhající synchronizace, stahování z internetu, přehrávání hudby, skenování antiviru apod.
- Mnoho zařízení na síti. Pokud máte kameru připojenou např. do firemní sítě, nemusí mít síť dostatečnou kapacitu pro přenos datového toku. Připojte kameru přímo k počítači.
- Vaše síťová karta není vhodná pro použití s touto kamerou. Zkuste použít jinou síťovou kartu nebo počítač. Doporučujeme použít síťové karty s čipsety Intel PRO/1000. Většinou fungují i adaptéry s čipsety Realtek.
Problém B: Nedaří se mi dosáhnout maximální snímkové frekvence udávané výrobcem
Možné příčiny a jejich řešení:
- Zkuste všechna řešení dle odstavce Problém A.
- Nízké nastavení hodnoty Packet Size na kameře. Pokud vaše síťová karta podporuje nastavení Jumbo Frames, zkuste na kameře nastavit vyšší hodnotu parametru Basler -> Transport Layer -> Packet Size. Například na hodnotu 4000. Tato hodnota nesmí překročit maximální velikost paketu nastavenou na síťové kartě.
Problém C: Ke kameře se vůbec nemohu připojit. V pylon Vieweru nevidím připojenou kameru.
Možné příčiny a jejich řešení:
- Zapnutý firewall. Vypněte firewall ve windows.
- Zkontrolujte napájení a připojení kamery. Zkontrolujte správné nastavení IP adres. Kamera a počítač musí být ve stejné podsíti (subnetu).
Problém D: Ke kameře jsem připojen, ale snímám pouze černý obraz
Možné příčiny a jejich řešení:
- Nastavení expozice a zesílení, clona objektivu. Zkontrolujte nastavení expozice, zda není příliš krátká. Zkontrolujte, zda není zavřená clona na objektivu. Otevřete ji naplno. Na kameře aktivujte testovací obrazec. Není-li vidět testovací obrazec, problém je pravděpodobně v nastavení komunikace.
- Nastavení velikosti paketu. Vaše karta nebo síťový switch pravděpodobně nepodporují Jumbo Frames. Na kameře nastavte parametru Basler -> Transport Layer -> Packet Size na hodnotu 1500 nebo nižší.
Pokud se vám stále nedaří zprovoznit kameru, tak nás kontaktujte, rádi vám poradíme.


